KWC型金属外壳16A系列热保护器
来源:常州市常达电器有限公司 发布时间:2022-06-20 09:47:08 点击量:
结构特点
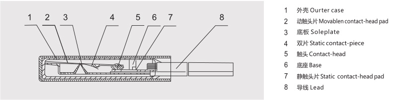
KWC型温度保护是由碟形高灵敏双金属元件、动触头、静触片、固定底板、外壳和耐温导线等组成。工作时双金属元 件处于自由状态,动触头与静触片闭合,电路导通。当使用电器因故发热,温度上升到该产品额定动作温度值时,双金 属 元 件 受 热 生 内 应 力 耐 迅 速 动 作,打 开 触 点切 断 电 源、电器停止工作,从而起到热保护作用。当装置冷却到安全工作温度时 触点自动闭合,电器恢复工作状态。该产品具有电阻小,感温快、无噪声、动作迅速、安全可靠等优点。
产品优势
- 体积小,便于安装
- 内阻低,小于25豪欧姆
- 速动型双金属片,反应速度快
- 寿命高达10000次以上
- 防真空浸漆工艺
应用范围
洗衣机电机、空调风扇电机、水泵电机、变压器、镇流器、电动工具、汽车直流电机、电机电子组件、电加热器等。
产品结构图

安装及外形尺寸

触点容量
KWC型在下述条件可分段,接通保护10000次以上。

常用温度规格
| 动作温度 | 复位温度 | 动作温度 | 复位温度 |
| 70±5℃ | 50±15℃ | 115±5℃ | 80±15℃ |
| 75±5℃ | 50±15℃ | 120±5℃ | 80±15℃ |
| 80±5℃ | 55±15℃ | 125±5℃ | 85±15℃ |
| 85±5℃ | 60±15℃ | 130±5℃ | 90±15℃ |
| 90±5℃ | 60±15℃ | 135±5℃ | 95±15℃ |
| 95±5℃ | 65±15℃ | 140±5℃ | 100±15℃ |
| 100±5℃ | 70±15℃ | 145±5℃ | 105±15℃ |
| 105±5℃ | 70±15℃ | 150±5℃ | 105±15℃ |
| 110±5℃ | 75±15℃ | 特殊规格可根据客户要求制定 | |
新闻来源:/list/?3_1.html
本文网址:
上一篇:KW型金属外壳大电流系列热保护器
